歡迎來深圳市立維創展科技有限公司官方網站!
24H服務熱線
0755-83050846 / 83039348
IC集成電路
美國Marvell在數據處理和網絡交換機的主控芯片方向,占據重要的市場份額。
深圳市立維創展科技有限公司,在Marvell產品線上部分系列擁有大量現貨優勢,原裝正品,優勢價格,期待與各同行渠道商合作。
98DX3500,98DX3510,98DX3520,98DX3530,98DX3550以太網交換機
下行端口:1/2.5/5Gbps
上行端口:10/25Gbps
堆疊端口:25/50Gbps
IVM77700,IVM77610,IVM77500,IVM77310以太網交換機
容量:12.8 Tbps
SerDes:256個
98TX9180,98TX9160以太網交換機芯片
容量:51.2 Tbps
SerDes:512 個
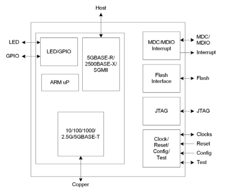
88E3083-C1-LKJ1C000
工作溫度:0~+70℃
數據速率:10 Mb/s, 100 Mb/s
工作電源電壓:1.5V
88E1510-A0-NNB2I000
工作溫度:-40~+85℃
數據速率:10 Mb/s, 100 Mb/s, 1 Gb/s
工作電源電壓:1V
電源電壓:0.95 V~1.05 V
電源電流—最大值:72 mA
88E3016-A2-NNC1C000
工作溫度:0~+70℃
數據速率:10 Mb/s, 100 Mb/s
工作電源電壓:1.2 V
電源電壓:1.14 V~1.26 V
電源電流—最大值:25 mA
88E3018-A2-NNC1C000
88E3018-A2-NNC1I000
88E3082-C1-BAR1C000
工作電源電壓:1.5 V
88E3015-A2-NNP1C000
88E1518-A0-NNB2C000
工作電源電壓:1 V
88E1543-A1-LKJ2C000
電源電流—最大值:280 mA
88E1545-A1-LKJ2C000
88E1512-A0-NNP2I000
88E1512-A0-NNP2C000
88E3082-C1-BAR1I000
88X2242-B0-BKP2C000
數據速率:1 Gb/s, 10 Gb/s, 40 Gb/s
電源電流—最大值:3380 mA
88E2040LA1-BUT4I000
數據速率:10 Mb/s, 100 Mb/s, 1 Gb/s, 2.5 Gb/s, 5 Gb/s
工作電源電壓:880 mV
電源電壓:0.854 V~0.906 V
電源電流—最大值:800 mV
88E2040LA1-BUT4C000
工作電源電壓:800 mV
電源電壓:0.776 V~0.824 V
88X2222-B0-BKP2C000
數據速率:10 Gb/s
首頁
上一頁
共2頁26條數據
在線留言